Chemieingenieurwesen
CHEMIEINGENIEURWESEN
HAARPFLEGE ODER THERAPEUTISCHE BEHANDLUNG DER HAUT
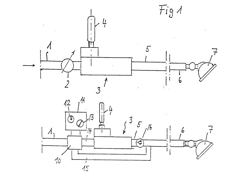
Es wird ein Verfahren und eine Anordnung zur Haarpflege oder therapeutischen Hautbehandlung vorgesehen. Das insbesondere erwärmte und fließende Wasser wird unmittelbar vor seinem Kontakt mit dem Haar oder der Haut mit CO2 feinst-imprägniert. Durch die sich anteilsmäßig bildende Kohlensäure wird der pH-Wert auf Werte deutlich unter 7 abgesenkt.

